Many
Manuals
search
Categorie
Marchi
Home
Comtech EF Data
no
CIC-50
Specifiche
Comtech EF Data CIC-50 Specifiche Pagina 19
Scaricare
Condividere
Condivisione
Aggiungi ai miei manuali
Stampa
Pagina
/
38
Indice
SEGNALIBRI
Valutato
.
/ 5. Basato su
recensioni clienti
1
2
3
4
5
6
7
8
9
10
11
12
13
14
15
16
17
18
19
20
21
22
23
24
25
26
27
28
29
30
31
32
33
34
35
36
37
38
CRS-100 1:1 Redundanc
y Switch
Revision 2
Introduction
MN/CRS100.IOM
2–3
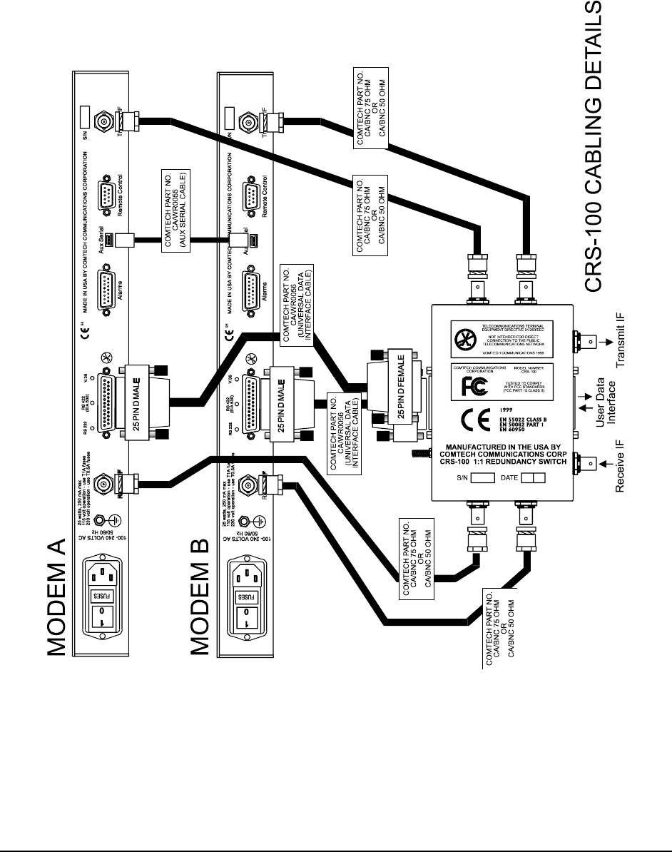
Figure 2-1. Cabling Details
1
2
...
14
15
16
17
18
19
20
21
22
23
24
...
37
38
Errata A
3
Figure 2-1. Cabling Details
4
Errata B
5
CRS-100
6
Customer Support
7
Table of Contents
8
Preface MN/CRS100.IOM
10
IMPORTANT INFORMATION –
11
Warranty Policy
14
Limitations of Warranty
14
Exclusive Remedies
14
Disclaimer
14
Chapter 1. INTRODUCTION
15
Introduction MN/CRS100.IOM
16
1–2 MN/CRS100.IOM
16
Chapter 2. INSTALLATION
17
2.3 Configuration
18
DOCUMENTATION SUPPLEMENT
22
3.1 Front Panel
23
3.2 Rear Panel
23
3–2 MN/CRS100.IOM
24
3.4 Side Panel - Left Side
25
3–4 MN/CRS100.IOM
26
Chapter 4. FUNCTIONAL
27
DESCRIPTION
27
4–2 Rev. 1.2
28
Chapter 5. CONNECTOR PINOUTS
29
5–2 Rev. 1.2
30
Chapter 6. OPERATION
31
Operation MN/CRS100.IOM
33
MN/CRS100.IOM 6–3
33
6.2 Manual Operation
34
6.2.1 UTIL (Utility)
34
Chapter 7. SUMMARY OF
35
SPECIFICATIONS
35
METRIC CONVERSIONS
37
Units of Length
37
Temperature Conversions
37
Units of Weight
37
480 • 333 • 2200 PHONE
38
480 • 333 • 2161
38
Commenti su questo manuale
Nessun commento
Publish
Stampa documento
Stampa pagina 19
Commenti su questo manuale